7月19日北交所行情:惠丰钻石涨7.91%,艾融软件折价23.13%,吉林碳谷涨超4%

【市场行情】
昨日北交所早盘小幅震荡走低,午后盘面维持窄幅震荡。截至午后收盘共33只股票收涨,59只股票收跌,104只股票共成交4.52亿元。涨幅排行方面,惠丰钻石(839725)涨7.91%居于榜首,数字人(835670)涨5.57%次之。风电碳纤维专利到期,吉林碳谷(836077)受益涨超4%。

【新三板市场行情】
7月19日,新三板市场总成交额3.75亿元(前一交易日3.49亿元),成交股票家数765家(前值733家)。其中,创新层成交2.52亿元(前一交易日2.75亿元),基础层成交1.22亿元(前一交易日7420万元),做市转让成交1.47亿元(前一交易日1.83亿元)。此外,昨日新三板盘后大宗交易共成交1.46亿元。
成交活跃度来看,换手率排名前五的分别是武侯高新(871326)、晟楠科技(837006)、爱吉仁(870935)、绿洲源(838893)、东方碳素(832175)。

展开全文
指数方面,7月19日,新三板做市指数涨0.46%,报收1249.95点。板块方面,三板消费指数领涨,涨幅为0.33%,三板医药指数领跌,跌幅为2.81%。
【龙虎榜】
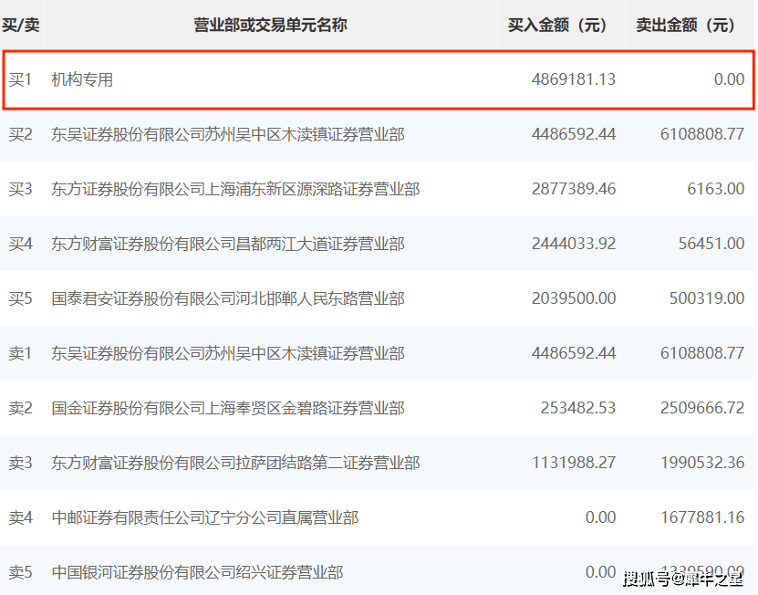
北交所龙虎榜|惠丰钻石今日换手率达25.31%,买一机构席位净买入486.92万元
7月19日消息,据北交所公开信息显示,惠丰钻石(839725)昨日上涨7.91%,换手率达25.31%,累计成交8470.13万元登上龙虎榜。
根据龙虎榜交易数据显示,买一为机构专用席位,买入486.92万元。买二为东吴证券股份有限公司苏州吴中区木渎镇证券营业部,买入448.66万元。卖出方面,卖一为东吴证券股份有限公司苏州吴中区木渎镇证券营业部,卖出610.88万元。卖二为国金证券股份有限公司上海奉贤区金碧路证券营业部,卖出250.97万元。

【大宗交易】
艾融软件大宗交易折价23.13%,成交79.925万元
7月19日,艾融软件盘后大宗交易以5.75元/股的价格成交13.9万股,合计79.925万元,相较当日收盘价7.48元折价23.13%。
卖出经营部为华泰证券股份有限公司无锡永乐路证券营业部,买入经营部为国信证券股份有限公司深圳泰九分公司。
【北交所IPO与打新】
派特尔将于7月22日北交所上市
7月19日消息,派特尔(836871)将于7月22日在北交所上市,同日从新三板摘牌。
资料显示,派特尔IPO发行价为5.6元/股,发行市盈率为13.63倍,拟发行数量1777.6万股,募资约9954.56万元,用于生产基地扩建项目、研发中心建设项目、补充流动资金。
派特尔主要从事工业软管及总成、改性工程塑料的研发、生产和销售。据介绍,公司产品主要最终客户群体包括徐工集团、伊之密集团、格力新材料、瓦格纳、奥特科技等业内知名企业。
业绩方面,派特尔2021年实现营业收入1.72亿元,同比增长21.86%,净利润为2942万元,同比增长10.33%。
【新三板公告】
合佳医药上半年业绩预告:净利润预计同比增长114.48%~128.02%
7月19日消息,创新层企业合佳医药(838641)发布2022年半年度业绩预告,公司上半年预计实现归母利润3010万元~3200万元,同比增长114.48%~128.02%。
公司表示,本期业绩重大变化的主要原因为:报告期内,公司运营情况良好,主要产品的销售价格与销量较上年同期增长,盈利水平有所提高。
合佳医药主要从事头孢类抗生素医药中间体及原料药的研发、生产和销售为核心,辅以化工产品贸易和精细化工产品的研发、生产和销售。
高达股份(873273):拟定增1.45亿元
7月19日消息,创新层企业高达股份(873273)披露定增预案,公司拟以每股11.00元/股的价格发行1314万股,预计募资1.45亿元。其中姚惟秉、高鸿斌、张少华、陈拓、冯林福等29名自然人投资者预计共认购1.45亿元。
公司表示,本次发行募集资金拟全部用于偿还银行贷款/借款。
公司的主营业务是经编织布的研发、生产和销售。业绩方面,公司2021年营业收入3.22亿元,净利润2213.9万元。
武汉蓝电北交所拟发行方案:发行底价35元/股
7月19日消息,创新层企业武汉蓝电(830779)董事会审议通过了北交所拟发行方案,发行底价为35元/股,按2021年基本每股收益0.99元估算,发行底价对应市盈率约为35倍,募资用于武汉蓝电生产基地建设项目等。
武汉蓝电于2014年5月挂牌新三板,公司主营电池测试设备的研发、生产和销售。目前,公司产品主要受众为高校、科研院所、以及电池或材料生产企业的研发和质检部门,主要用于电池材料及可充电电池的研发和质检。2021年,公司实现营业收入1.13亿元,同比增长27.39%,净利润为4615万元,同比增长16.54%。
睿高股份通过北交所上市辅导验收 为国家级专精特新“小巨人”企业
7月19日消息,创新层企业睿高股份(873233)通过北交所上市辅导验收,辅导机构为财通证券,为国家级专精特新“小巨人”企业。7月19日,公司收到浙江证监局下发的《关于对财通证券股份有限公司辅导工作的验收工作完成函》,公司通过北交所上市辅导验收。
睿高股份于2019年3月挂牌新三板,公司的主营业务为先进涂层材料和功能水性树脂的研发、生产和销售,为客户提供整体功能解决方案,主要产品为阻燃材料、界面材料、环保材料以及其他材料。2021年,公司实现营业收入3.14亿元,同比增长73.22%,净利润为2941万元,同比增长46.15%。
惠柏新材(832862):拟出资不低于4亿元设立珠海全资子公司
7月19日消息,基础层企业惠柏新材(832862)发布公告,为满足公司长远战略发展需要,提升公司整体实力和市场竞争力,惠柏新材料科技(上海) 股份有限公司(以下简称“公司”)于 2022 年7月8日与珠海市金湾区人民政府签署了《惠柏新材料科技(上海)股份有限公司高端复合材料项目投资协议》,公司拟在广东省珠海市金湾区进行投资(不低于人民币4亿元)并设立项目公司,并由项目公司竞投珠海市金湾区辖区内公开挂牌出让地块的土地使用权约 45,000平方米(具体以国有建设用地土地使用权招标拍卖挂牌结果为准),上述投资协议需经公司股东大会审议通过后生效。
公司称,本次对外投资是从长远发展考虑而做出的战略决策,有利于完善和优化公司的整体布局,为公司业务的进一步扩大再生产提供储备用地和预留发展空间,对公司的长期稳定发展具有积极意义。
【宏观要闻】
科创板做市商制度进入落地阶段 首批获试点资格券商或近10家
科创板做市商制度正式进入实施阶段。记者从业内人士处获悉,预计首批获得试点资格的券商或接近10家。具体来看,目前已有4家至5家券商通过上交所组织的多轮技术系统评估测试等,并获得交易所出具的验收报告,准备向证监会递交业务资格申请的相关材料。此外,另有4家至5家券商正在进行技术系统改进等工作,本周内有望通过相关测试。
国家能源局:加快推进抽水蓄能项目开发建设
国家能源局有关负责人日前接受记者采访时表示,发展抽水蓄能对于促进新能源大规模高比例发展、提高电力系统安全稳定运行水平、扩大有效投资具有重要意义,国家能源局正加快推进抽水蓄能项目开发建设。初步分析,“十四五”可核准装机规模2.7亿千瓦,总投资1.6万亿元,涉及28个省(区、市)和新疆生产建设兵团。上述负责人表示,下一步,国家能源局将进一步贯彻落实国务院扎实稳住经济一揽子政策措施部署,锚定既定目标,加强统筹协调,强化督促指导,加快推进抽水蓄能项目开发建设。
工信部:按照适度超前原则 继续加大5G网络和千兆光纤网络建设力度
工信部信息通信管理局负责人王鹏19日在国新办发布会上表示,加强核心技术攻关,推动数字产业创新发展。深入实施创新驱动发展战略,牢牢掌握关键核心技术自主权,突破一批“卡脖子”关键领域,培育一批具有竞争力的生态主导型企业,增强产业链供应链韧性和竞争力。按照适度超前的原则,继续加大5G网络和千兆光纤网络建设的力度,深入实施工业互联网创新发展工程,统筹布局绿色智能数据与计算设施建设。
【机构观点】
中信证券:新旧能源转换依旧是最核心的业绩超预期线索
中信证券研报指出,中报持续高景气和出现拐点的行业值得重点关注:1)新旧能源转换依旧是最核心的业绩超预期线索。上半年煤炭等传统能源价格维持高位,带来行业盈利继续高增长;欧洲能源紧缺带动户用光伏装机规模激增,拉动国内产业链需求,硅料价格的暴涨又带来国内光伏和风电装机成本的阶段性倒挂,推动风电上半年招标超预期并可能延续,光伏风电景气度持续超预期;国内汽车消费刺激政策、高油价叠加国产车型周期,带来电动车渗透率继续快速提升。整体而言,围绕新旧能源结构转换仍然是中报季业绩超预期的最重要线索。2)成长制造亮点更多,医药分化明显,消费关注疫后修复。成长制造板块是中报潜在超预期个股最为集中的领域,其中军工板块中上游环节中报业绩兑现的确定性最强,半导体当中IGBT、设备等细分赛道个股半年报预计将维持收入和利润高增,新材料相关公司业绩弹性较大,集中在生物类材料、半导体材料、军工材料和电力材料。








评论